行业新闻
热电阻和热点偶温度传感器校验实验系统 > 行业新闻 >热电阻和热点偶温度传感器校验实验装置
2021年7月29日

热电阻和热点偶温度传感器校验实验系统

SBJYD-R6热电阻和热点偶温度传感器校验实验系统

 

一、概述

目前,测量温度都采用间接测量的方法。它是利用一些材料或元件的性能随温度而变化的特性,通过测量该性能参数,而得到被测温度的大小。用以测量温度特性的有:材料的热膨胀、电阻、热电动势、导磁率、介电系数、光学特性、弹性等等,其中前三者尤为成熟,获得广泛的应用。热电阻和热电偶温度传感器结构简单、易于制造和测温范围宽,因而应用最为广泛。但是热电阻和热电偶受到材料、温度、接线方式以及其他环境因素影响,从而影响了温度测量精度。为此需要进行校正。本实验台结构简单,性能可靠,适用于学生进行热工实验,也可以应用于科研及生产厂家的产品质量检验。

二、实验目的

了解热电阻和热电偶温度计的测温原理

学会热电偶温度计的制作与校正方法

了解二线制、三线制和四线制热电阻温度测量的原理

掌握电位差计的原理和使用方法

了解数据自动采集的原理

应用误差分析理论于测温结果分析。

三、实验原理

1、热电阻

(1) 热电阻原理

热电阻是中低温区最常用的一种温度检测器。它的主要特点是测量精度高,性能稳定。其中铂热是阻的测量精确度是最高的,它不仅广泛应用于工业测温,而且被制成标准的基准仪。热电阻测温是基于金属导体的电阻值随温度的增加而增加这一特性来进行温度测量的。热电阻大都由纯金属材料制成,目前应用最多的是铂和铜,此外,现在已开始采用镍、锰和铑等材料制造热电阻。常用铂电阻和铜电阻,铂电阻在0-630.74℃以内,电阻Rt与温度t的关系为:Rt=R0(1+At+Bt2)R0系温度为0℃时的电阻,铂电阻内部引线方式有两线制,三线制,和四线制三种,两线制中引线电阻对测量的影响最大,用于测温精度不高的场合,三线制可以减小热电阻与测量仪之间连接导线的电阻因环境温度变化所引起的测量误差。四线制可以完全消除引线电阻对测量的影响,用与高精度温度检测。本实验是三线制连接,其中一端接二根引线主要是消除引线电阻对测量的影响。

(2) 热电阻的校验

热电阻的校验一般在实验室中进行,除标准铂电阻温度计需要作三定点,(水三相点,水沸点和锌凝固点)校验外,实验室和工业用的铂或铜电阻温度计的校验方法有采用比较法两种校验方法。比较法是将标准水银温度计或标准铂电阻温度计与被校电阻温度计一起插入恒温水浴中,在需要的或规定的几个稳定温度下读取标准温度计和被校验温度计的示值并进行比较,其偏差不超过最大允许偏差。在校验时使用的恒温器有冰点槽,恒温水槽和恒温油槽,根据所校验的温度范围选取恒温器。比较法虽然可用调整恒温器温度的方法对温度计刻度值逐个进行比较校验,但所用的恒温器规格多,一般实验室多不具备。因此,工业电阻温度计可用两点法进行校验,即只校验R0R100/ R0两个参数。这种校验方法只需要有冰点槽和水沸点槽,分别在这两个恒温槽中测得被校验电阻温度计的电阻R0 R100,然后检查R0 值和R100/R0 的比值是否满足规定的技术数据指标,以确定温度计是否合格。

(3) 热电阻的类型

1)普通型热电阻。从热电阻的测温原理可知,被测温度的变化是直接通过热电阻阻值的变化来测量的,因此,热电阻体的引出线等各种导线电阻的变化会给温度测量带来影响。

2)铠装热电阻。铠装热电阻是由感温元件(电阻体)、引线、绝缘材料、不锈钢套管组合而成的坚实体,它的外径一般为φ2--φ8mm。与普通型热电阻相比,它有下列优点:体积小,内部无空气隙,热惯性上,测量滞后小;机械性能好、耐振,抗冲击;能弯曲,便于安装使用寿命长。

3)端面热电阻。端面热电阻感温元件由特殊处理的电阻丝材绕制,紧贴在温度计端面。它与一般轴向热电阻相比,能更正确和快速地反映被测端面的实际温度,适用于测量轴瓦和其他机件的端面温度。

4)隔爆型热电阻。隔爆型热电阻通过特殊结构的接线盒,把其外壳内部爆炸性混合气体因受到火花或电弧等影响而发生的爆炸局限在接线盒内,生产现场不会引超爆炸。隔爆型热电阻可用于Bla--B3c级区内具有爆炸危险场所的温度测量。

2、热电偶

(1) 热电偶原理

将两种不同材质的金属导线连接成闭合回路,如果两接点的温度不同,由于金属的热电效应,在回路中就会产生一个与温差有关的电动势,称为温差电势。在回路中串接一毫伏表,就能粗略地测出温差电势值。如图1

1 热电偶原理

 

1 热电偶原理

温差电势的大小只与两个接点的温差有关,与导线的长短粗细和导线本身的温度分布无关。这样一对导线的组合就称热电偶温度计。简称热电偶。

实验表明,在一定温度范围,温差电势E与两接点的温度T0, T存在着函数关系E=F(T0 , T), 如果一个接点T0(通常指冷端)的温度保持不变,则温差电势就只与另一个接点T(通常指热端)的温度有关,即E=F(T) ,当测得温差电势后,即可求出另一个接点(热端)的温度。

 (2) 热电偶的标定

将热电偶做为温度计,必须先将热电偶的温差电势与温度值T之间的关系进行标定。一般不用内插式计算,而是用实验方法,用表格或T-E(或E-T)特性曲线形式表示。标定方法,一般采用:

1)固定点法,即测量已知沸点或熔点温度的标准物质在沸点或熔点时的温差电势值。

2)标准热电偶法,将待标热电偶与标准热电偶一起置于恒温介质中,逐点改变恒温介质的温度,待热电偶处于热平衡状态下测出每一点的温差电势。热电偶的T-E特性曲线如下图3

3 热电偶T-E 特性曲线

(3) 热电偶的分类

热电偶的种类繁多,各有其优缺点。可根据不同的用途选择不同型号的热电偶。目前我国已经标准化的常用商品热电偶,有以下几种

热电偶分类

型号

新分度号

旧分度号

使用温度0C

长期

短期

-康铜

/

J

TK

400

800

镍铬-镍硅

WREU

K

EU-2

1000

1300

-康铜

WRCK

T

CK

600

800

四、实验装置

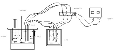
热电偶实验装置主要由恒温水浴、电位差计、热电偶、热电阻、冰点仪、数据采集装置、低电势转换开关和标准玻璃温度计等组成。恒温水浴上具有搅拌、加热与温度控制装置,可根据要求将温度稳定在设定值附近。采用标准玻璃温度计测量的温度作为标准温度,用于校准热电偶和热电阻。

4 热电偶采集与校验原理图

5热电阻自动采集与校验装置图

五、试验台功能

对热电阻和热电偶温度计进行标定和校准。

热电阻接线方式可以采用二线制、三线制和四线制热电阻接线。

热电偶KJT三种,电动势可以采用电位差计手动测量,也可以通过计算机自动测量。

每次可进行多个热电偶或者热电阻测量。

对于自动测试系统,采集通过计算机数据自动处理,可以多画面显示测量结果,自动进行分析。

六、试验台特点与技术指标

具有手动与自动测试功能,测试过程具有直观、快速、准确、方便;

系统采用恒温水浴,温度波动度小于±0.5℃,温度测量范围为0-100℃

对于自动测试,数据采集装置采用高精度采集卡。

检定结果不确定度:热电偶:小于0.2℃;热电阻:小于0.05℃

传感器Betway西盟体育 、传感器实验设备、实验箱类、变频调速实验装置工业自动化Betway西盟体育

工业传感器技术实训装置

传感器实训室,传感器技术实训装置

创新型测控传感器技术综合实验实训装置

传感与检测实训装置

传感器技术实训室发展方向与要求

测控技术与仪器专业实验室,检测技术实验室

传感器实验室,传感器技术实验室

传感器系统实验仪

传感器与检测技术实验台

传感器技术实验箱

增强型型检测与转换(传感器)技术实验装置

压力传感器标定实验系统

热电阻和热点偶温度传感器校验实验系统

传感器技术实训台选择要领要谨记

液体流量仪表标定实验系统

压力控制测量实验装置

液位流量控制实验装置

气动薄膜控制阀与电气安装阀门定位调校实训置

SB-811型检测与转换(传感器)技术实验17种箱

传感器与检测技术实训装置

创新型测控/传感器技术综合实验实训平台

流量控制测量装置

温度测控实验装置

021-61482202 021-61482206
Baidu
map